Мы используем cookie для наилучшего представления нашего сайта. Подробнее об этом в Политике конфиденциальности.
Ок

Нефтекамск

Ваш город:
Нефтекамск (Республика Башкортостан)?
Нет
Да
Каталог
Каталог Написать в WhatsApp
Мотоэкипировка

Бак топливный (карбюратор) КВАДРОЦИКЛА STELS ATV 700 D 2010

Бак топливный (карбюратор) КВАДРОЦИКЛА STELS ATV 700 D 2010 в Уфе: актуальный каталог, цены, фото, описание. Купите бак топливный (карбюратор) квадроцикла stels atv 700 d 2010 в кредит – оформите заявку онлайн за 1 минуту!

Оригинальные запчасти

Артикул НАИМЕНОВАНИЕ Кол-во деталей в узле Примечание Наличие Цена Аналоги Фото
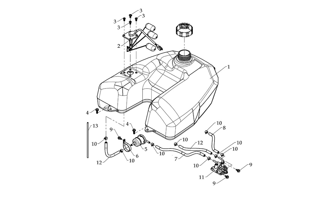
1 LU013878 Бак топливный F210032-00,F210032A00

Под заказ

1

Под заказ

уточнить

1 240

Купить
2 LU013879 Датчик уровня топлива F210058-00

Под заказ

1

Под заказ

уточнить

2 210

Купить
3 LU013797 Болт с фланцем M6x1.0x 20мм, сталь 9102-06-020, Q/QD922

В наличии

2

В наличии

380

30

Купить
4 LU013881 Фильтр топливный F150223-00

Под заказ

1

Под заказ

уточнить

1 460

Купить
5 LU013882 Хомут крепления топливного фильтра, сталь A220073-41,A160004-00

Под заказ

1

Под заказ

уточнить

30

Купить
6 LU013883 Шланг топливной системы 5.3х10.5х280мм, резина A220075-00

Под заказ

1
Ø5.3ר10.5×280L
Ø5.3ר10.5×280L

Под заказ

уточнить

870

Купить
7 LU013884 Шланг топливной системы 5.3х10.5х130мм, резина A220077-00

Под заказ

1
Ø5.3ר10.5×130L
Ø5.3ר10.5×130L

Под заказ

уточнить

50

Купить
8 LU013750 Болт с фланцем M6x1.0x 12мм, сталь 9102-06-012, PFKL1214292

В наличии

3

В наличии

130

40

Купить
9 LU013885 Хомут пружинный 10х8х0.6мм, сталь

Под заказ

8

Под заказ

уточнить

Купить
10 LU013886 Топливный клапан A240005-00,A240006-00

В наличии

1

В наличии

1 740

2 150

Купить
11 LU036051 Топливный клапан A240009-00

Под заказ

1

Под заказ

уточнить

5 520

Купить
12 LU013888 Трубка дренажная топл.системы 2.6х5х210мм, ПВХ F150116-00

Под заказ

1
Ø2.6ר5×210L
Ø2.6ר5×210L

Под заказ

уточнить

20

Купить
13 LU018828 Шланги топливной системы с фильтром и топливным клапаном, комплект F210149-00

Под заказ

1
карбюратор
карбюратор

Под заказ

уточнить

Купить
14 LU043225 Шланги топливной системы с фильтром и топливным клапаном, комплект F210149A89

Под заказ

1
карбюратор
карбюратор

Под заказ

уточнить

2 300

Купить

Нулевая цена не означает отсутствие товара. Оформите заказ, и менеджер сообщит вам цену и наличие товара, предварительно запросив их у поставщика

Главная Магазины
Корзина0
Профиль